Skip to Content

CUTTING BLADE 45.00- 1.50

0.00 0.00
53.60 €

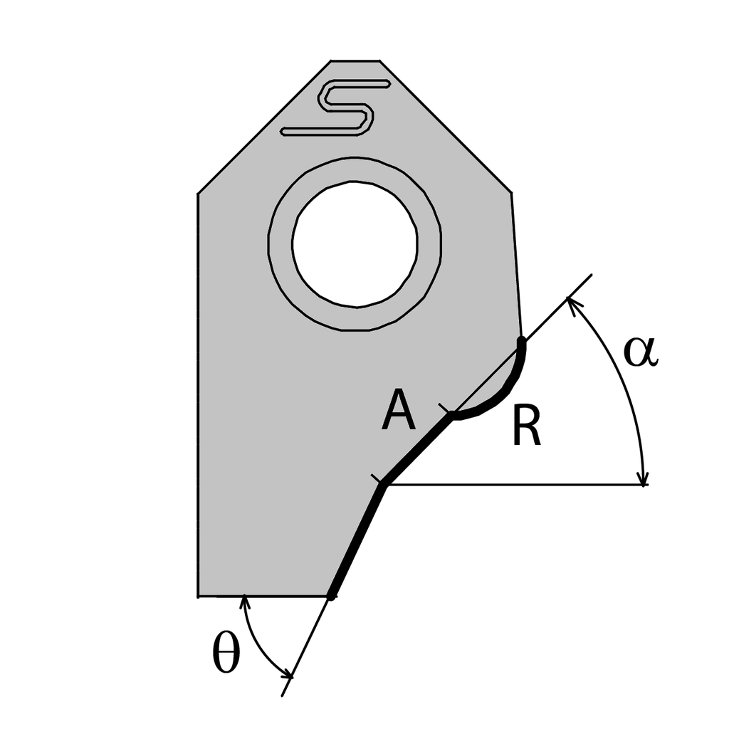
  • Bit form - Single concave radius
  • Seat angle (α)
  • Seat lenght
  • Upper clearance angle
  • Upper clearance lenght
  • Lower clearance angle
  • Brut type
  • Design
  • Radius
Bit form: Single concave radius
Seat angle (α): 45°
Seat lenght: 1.01mm ["0.0397] - 1.5mm [0.0591"]
Upper clearance angle: 0° - 5°
Upper clearance lenght: 2.01mm [0.0787"] - ∞
Lower clearance angle: 50° - 60°
Brut type: A1 Standard
Design: Original
Radius: 5° - 20°

Internal Reference: 001354
Old FR code: 41090-A1
Seat angle (α): 45
Seat lenght (A) (A): 1.5
Radius (R): 6
Angle rake: 8
Lower clearance angle (Thêta): 60
Upper clearance angle (Beta): 0
Upper clearance lenght (B): 3.65
Bit form: 2.11