Skip to Content

CUTTING BLADE 45.00- 2.00

0.00 0.00
53.60 €

  • Bit form - Miscellaneous angles
  • Seat angle (α)
  • Seat lenght
  • Upper clearance angle
  • Upper clearance lenght
  • Lower clearance angle
  • Brut type
  • Design
  • Radius
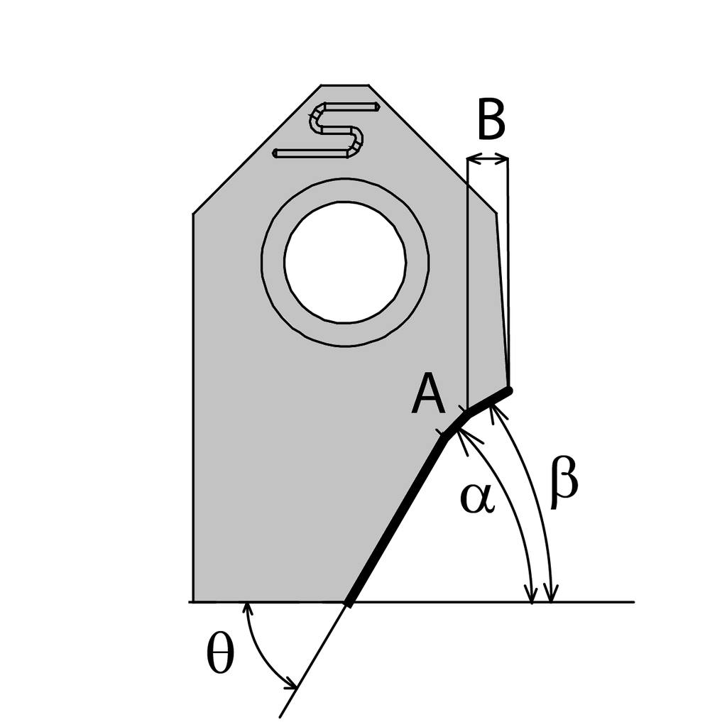
Bit form: Miscellaneous angles
Seat angle (α): 45°
Seat lenght: 1.51mm [0.0594"] - 2mm [0.0787"]
Upper clearance angle: 30° - 35°
Upper clearance lenght: 1.01 [0.0393"] - 2mm [0.0709"]
Lower clearance angle: 50° - 60°
Brut type: A1 Standard
Design: Original
Radius: 0° - 5°

Internal Reference: 001540
Old FR code: 42031A1
Seat angle (α): 45
Seat lenght (A) (A): 2
Radius (R): 0.2
Angle rake: 8
Lower clearance angle (Thêta): 53
Upper clearance angle (Beta): 35
Upper clearance lenght (B): 1.23
Bit form: 3