Skip to Content

33006-B1 CARBIDE BIT (30.00MM- 3.00MM)

0.00 0.00
60.90 €


Internal Reference: 014037
Old FR code: 33006-B1
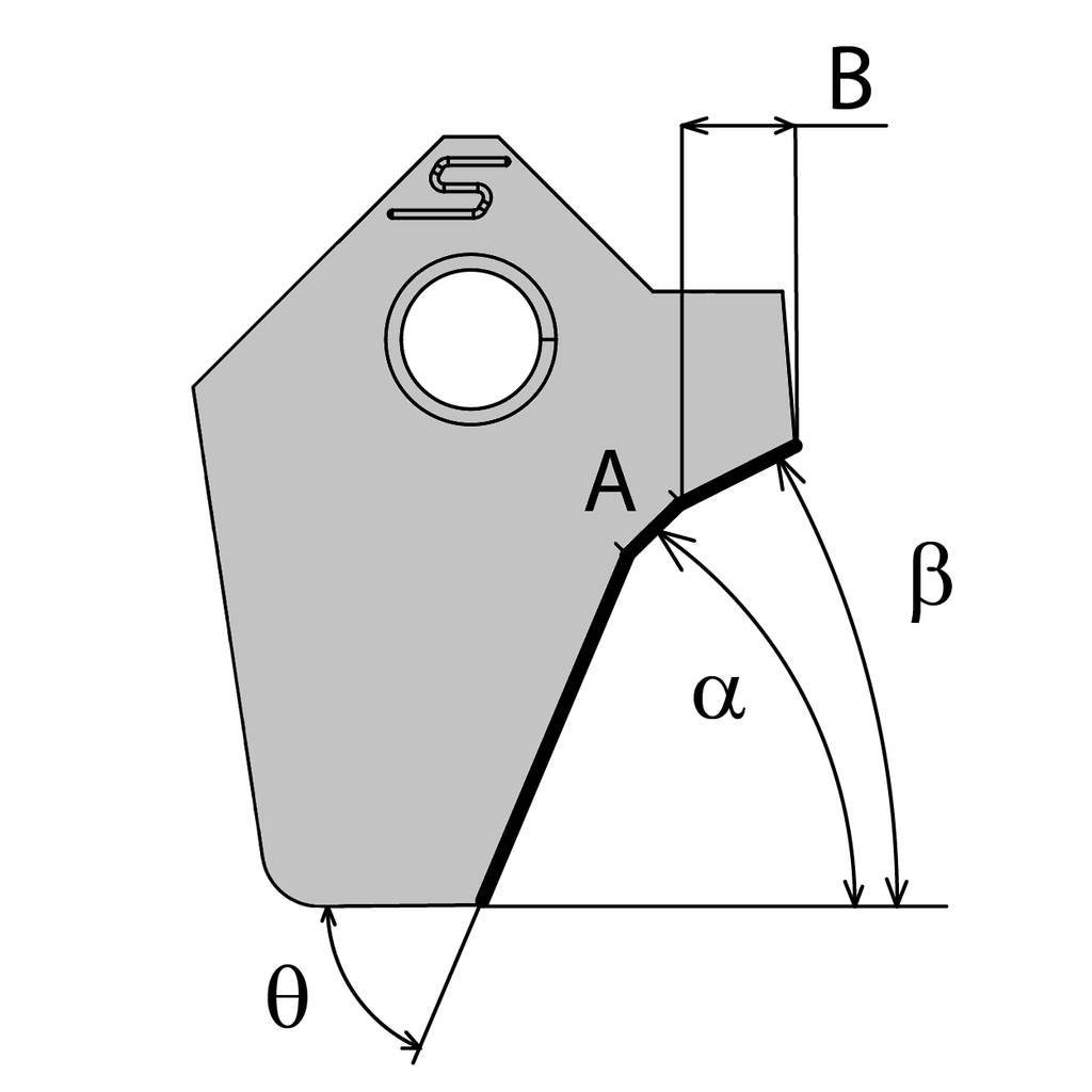
Seat angle (α): 30
Seat lenght (A) (A): 3
Radius (R): 0
Angle rake: 8
Lower clearance angle (Thêta): 60
Upper clearance angle (Beta): 15
Upper clearance lenght (B): 3.38
Bit form: 3