Skip to Content

CUTTING BLADE 50.00-11.00

0.00 0.00
53.60 €

  • Bit form - Single angle
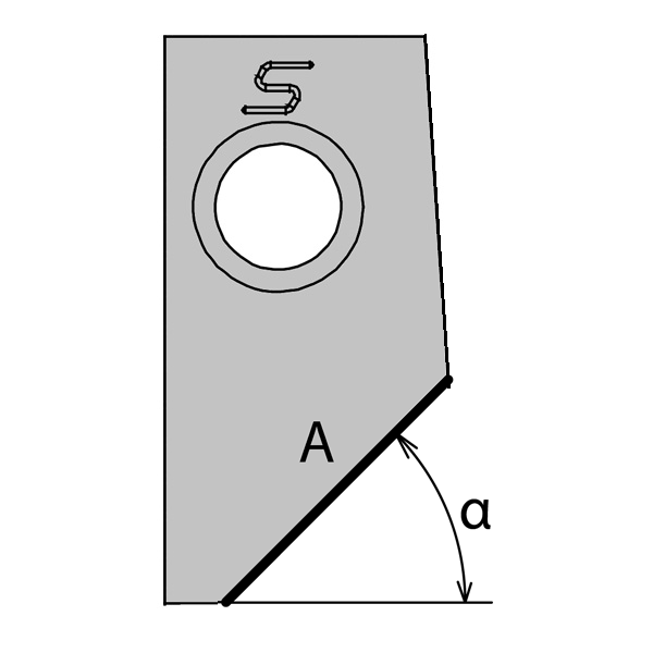
  • Seat angle (α)
  • Seat lenght
  • Upper clearance angle
  • Upper clearance lenght
  • Lower clearance angle
  • Brut type
  • Design
  • Radius
Bit form: Single angle
Seat angle (α):
Seat lenght: 3.01mm [0.1185"] - ∞
Upper clearance angle: 0° - 5°
Upper clearance lenght: 0mm [0"] - 1mm [0.0394"]
Lower clearance angle: 40° - 50°
Brut type: E2 Standard Large
Design: New generation
Radius: 0° - 5°

Internal Reference: 022391
Old FR code: 50-E2 / 114E2
Seat angle (α): 0
Seat lenght (A) (A): 11
Radius (R): 0
Angle rake: 14
Lower clearance angle (Thêta): 50
Upper clearance angle (Beta): 0
Upper clearance lenght (B): 0
Bit form: 1