Skip to Content

CUTTING BLADE 45.00- 1.30

0.00 0.00
53.60 €

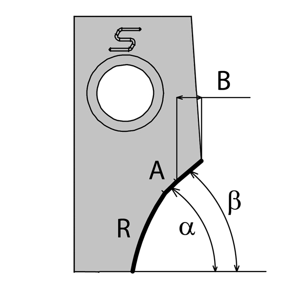
  • Bit form - Single concave radius
  • Seat angle (α)
  • Seat lenght
  • Upper clearance angle
  • Upper clearance lenght
  • Lower clearance angle
  • Brut type
  • Design
  • Radius
Bit form: Single concave radius
Seat angle (α): 45°
Seat lenght: 1.01mm ["0.0397] - 1.5mm [0.0591"]
Upper clearance angle: 30° - 35°
Upper clearance lenght: 2.01mm [0.0787"] - ∞
Lower clearance angle: 70° - 80°
Brut type: E2 Standard Large
Design: New generation
Radius: 5° - 20°

Internal Reference: 022655
Old FR code: 4106200
Seat angle (α): 45
Seat lenght (A) (A): 1.3
Radius (R): 12
Angle rake: 14
Lower clearance angle (Thêta): 85
Upper clearance angle (Beta): 30
Upper clearance lenght (B): 2.15
Bit form: 2.2