Skip to Content

CUTTING BLADE 45.00- 1.30

0.00 0.00
38.00 €

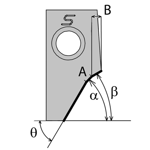
  • Bit form - Three angles - 45°
  • Seat angle (α)
  • Seat lenght
  • Upper clearance angle
  • Radius
  • Upper clearance lenght
  • Lower clearance angle
  • Brut type
  • Design
Bit form: Three angles - 45°
Seat angle (α): 45°
Seat lenght: 1.01mm ["0.0397] - 1.5mm [0.0591"]
Upper clearance angle: 30° - 35°
Radius: 0 mm
Upper clearance lenght: 1.01 [0.0393"] - 2mm [0.0709"]
Lower clearance angle: 50° - 60°
Brut type: E2 Standard Large
Design: New generation

Internal Reference: 022841
Seat angle (α): 45
Seat lenght (A) (A): 1.3
Radius (R): 0
Angle rake: 14
Lower clearance angle (Thêta): 60
Upper clearance angle (Beta): 30
Upper clearance lenght (B): 1.6
Bit form: 3