Skip to Content

CUTTING BLADE 45.00- 1.00

0.00 0.00
53.60 €

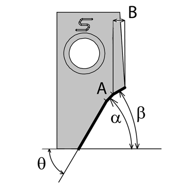
  • Bit form - Miscellaneous angles
  • Seat angle (α)
  • Seat lenght
  • Upper clearance angle
  • Upper clearance lenght
  • Lower clearance angle
  • Brut type
  • Design
  • Radius
Bit form: Miscellaneous angles
Seat angle (α): 45°
Seat lenght: 0.51mm [0.0200"] - 1mm [0.0393"]
Upper clearance angle: 35° - 90°
Upper clearance lenght: 2.01mm [0.0787"] - ∞
Lower clearance angle: 50° - 60°
Brut type: E2 Standard Large
Design: New generation
Radius: 0° - 5°

Internal Reference: 024189
Old FR code: H1.1N1E2
Seat angle (α): 45
Seat lenght (A) (A): 1
Radius (R): 2.5
Angle rake: 14
Lower clearance angle (Thêta): 60
Upper clearance angle (Beta): 38
Upper clearance lenght (B): 2.85
Bit form: 3