Skip to Content

HP2706-B1 CARBIDE BIT

0.00 0.00
60.90 €


Internal Reference: 025077
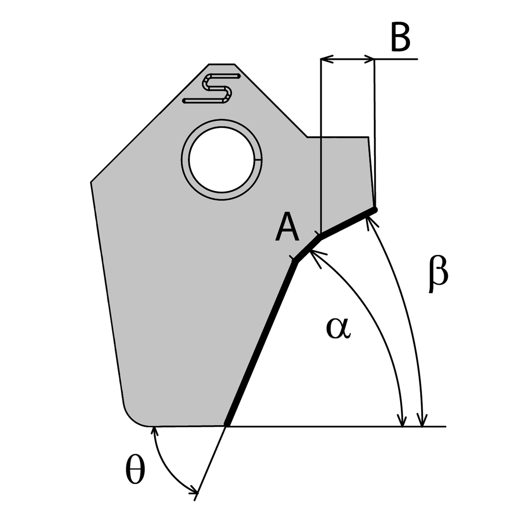
Seat angle (α): 30
Seat lenght (A) (A): 2.3
Radius (R): 1.8
Angle rake: 8
Lower clearance angle (Thêta): 65
Upper clearance angle (Beta): 20
Upper clearance lenght (B): 4
Bit form: 3