Skip to Content

S1101-B1 CARBIDE BIT (45.00MM-1.91MM)

0.00 0.00
60.90 €

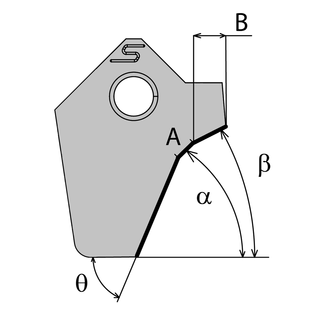
  • Bit form - Miscellaneous angles
  • Seat angle (α)
  • Seat lenght
  • Upper clearance angle
  • Upper clearance lenght
  • Lower clearance angle
  • Brut type
  • Design
  • Radius
Bit form: Miscellaneous angles
Seat angle (α): 45°
Seat lenght: 1.51mm [0.0594"] - 2mm [0.0787"]
Upper clearance angle: 10° - 15°
Upper clearance lenght: 2.01mm [0.0787"] - ∞
Lower clearance angle: 50° - 60°
Brut type: B1 Wide & Large
Design: Original
Radius: 0° - 5°

Internal Reference: 025609
Old FR code: S1101-B1
Seat angle (α): 45
Seat lenght (A) (A): 1.91
Radius (R): 0
Angle rake: 8
Lower clearance angle (Thêta): 60
Upper clearance angle (Beta): 15
Upper clearance lenght (B): 4.35
Bit form: 3