Skip to Content

15J20T60-A1 CARBIDE BIT 20.00- 1.50

0.00 0.00
53.60 €

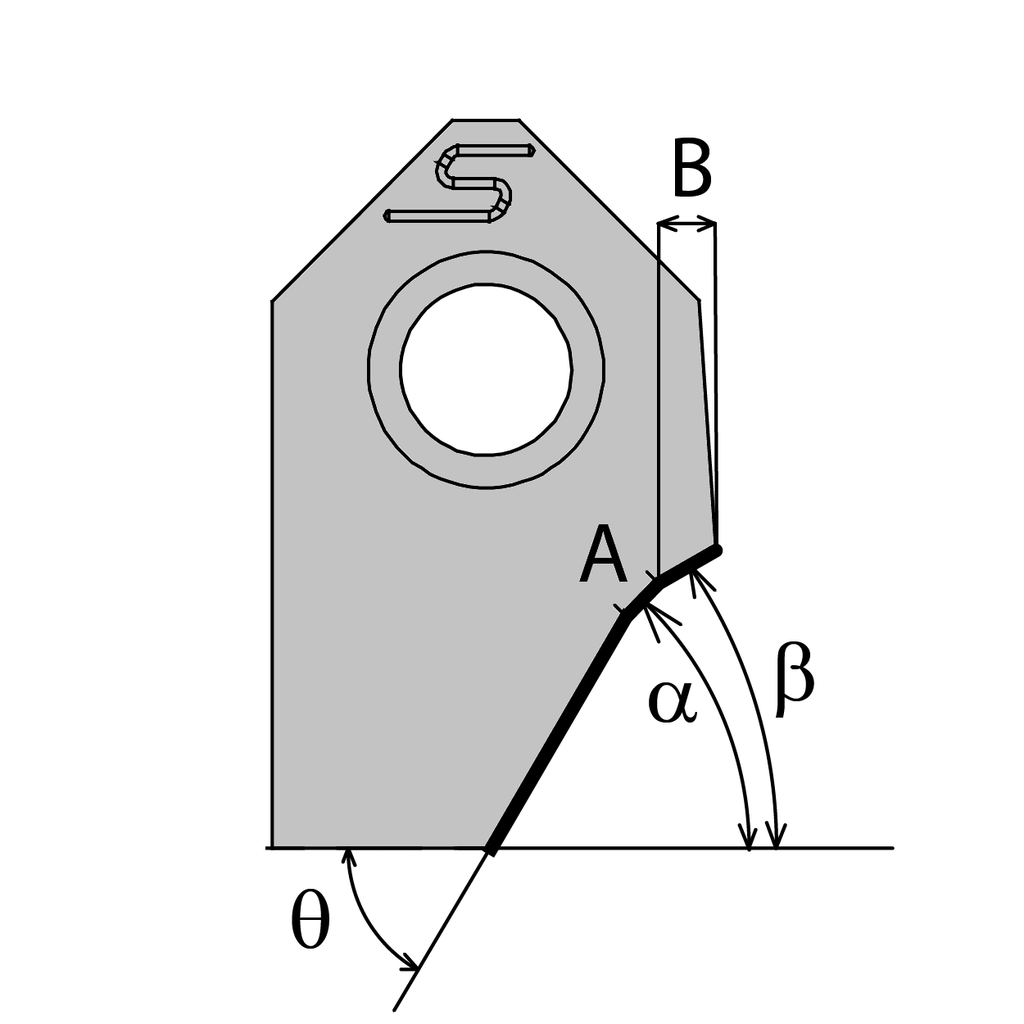
  • Bit form - Miscellaneous angles
  • Seat angle (α)
  • Seat lenght
  • Upper clearance angle
  • Upper clearance lenght
  • Lower clearance angle
  • Brut type
  • Design
  • Radius
Bit form: Miscellaneous angles
Seat angle (α): 20°
Seat lenght: 1.01mm ["0.0397] - 1.5mm [0.0591"]
Upper clearance angle: 5° - 10°
Upper clearance lenght: 1.01 [0.0393"] - 2mm [0.0709"]
Lower clearance angle: 50° - 60°
Brut type: A1 Standard
Design: Original
Radius: 0° - 5°

Internal Reference: 027251
Seat angle (α): 20
Seat lenght (A) (A): 1.5
Radius (R): 0
Angle rake: 8
Lower clearance angle (Thêta): 60
Upper clearance angle (Beta): 8
Upper clearance lenght (B): 1.8
Bit form: 3