Skip to Content

16H30.15U60-A1 CARBIDE BIT

0.00 0.00
53.60 €


Internal Reference: 027422
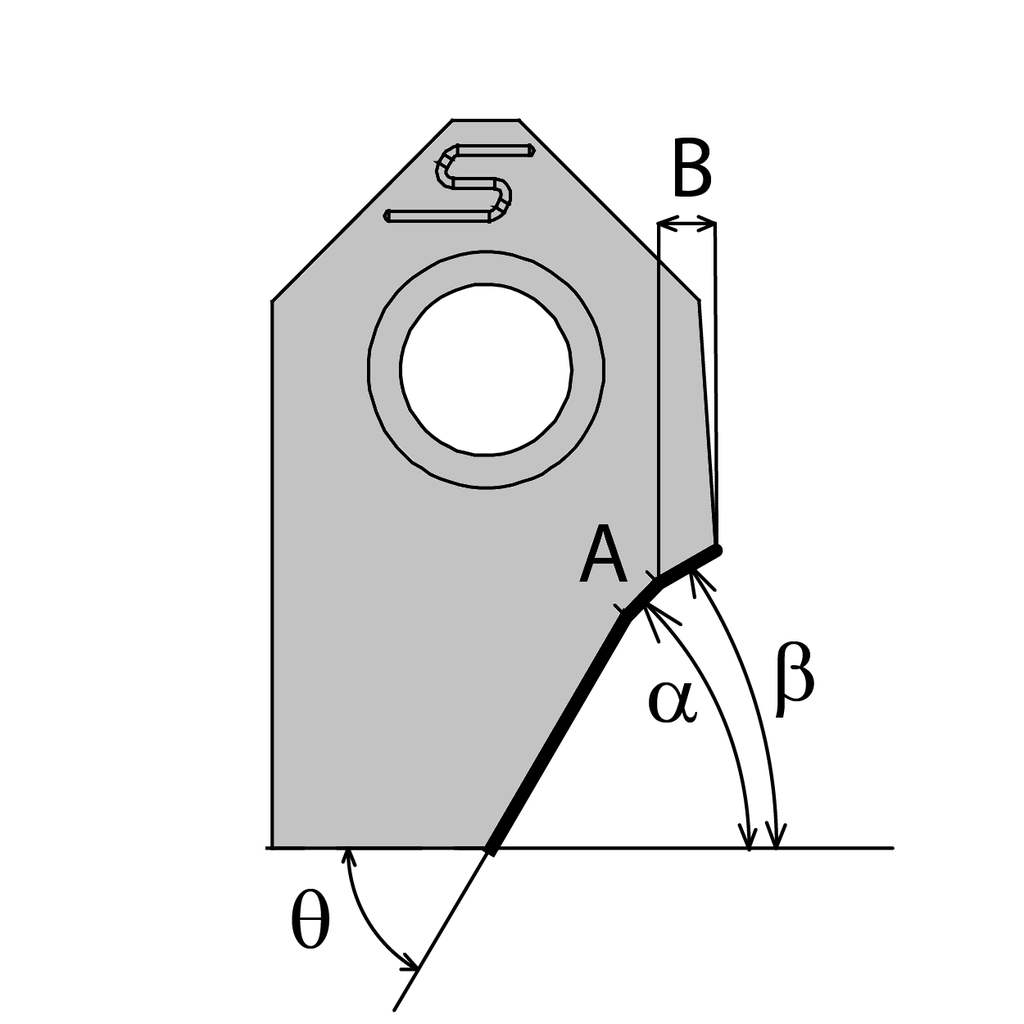
Seat angle (α): 30.25
Seat lenght (A) (A): 1.6
Radius (R): 0
Angle rake: 8
Lower clearance angle (Thêta): 60
Upper clearance angle (Beta): 15
Upper clearance lenght (B): 1.6
Bit form: 3