Skip to Content

11R30U45-A1 CARBIDE BIT

0.00 0.00
53.60 €


Internal Reference: 027930
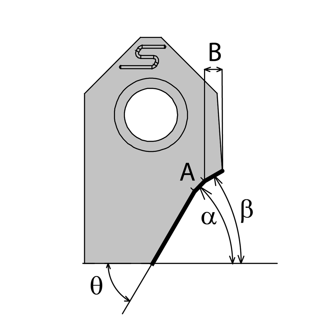
Seat angle (α): 30
Seat lenght (A) (A): 1.1
Radius (R): 0
Angle rake: 8
Lower clearance angle (Thêta): 45
Upper clearance angle (Beta): 15
Upper clearance lenght (B): 3.6
Bit form: 3