Skip to Content

21F40.52252-A1 CARBIDE BIT40.50- 2.10

0.00 0.00
53.60 €


Internal Reference: 030773
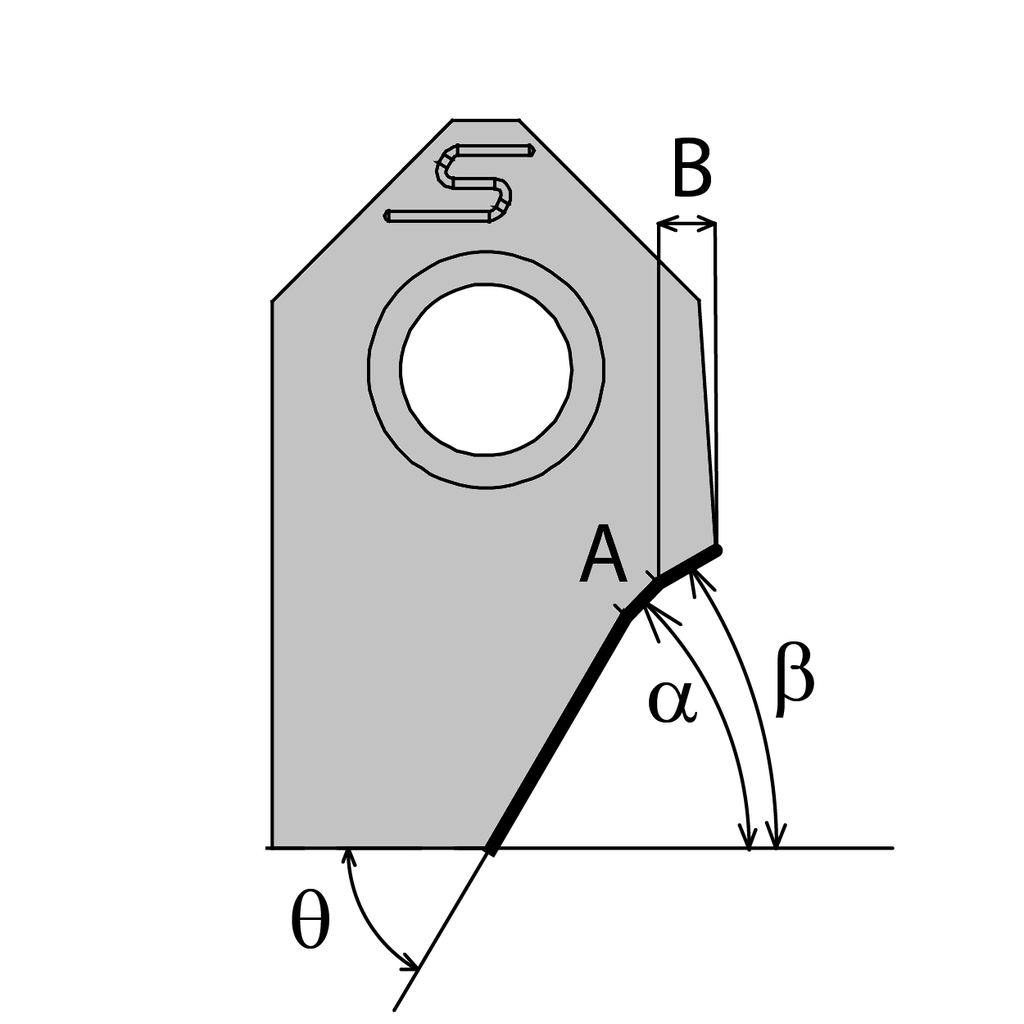
Seat angle (α): 40.5
Seat lenght (A) (A): 2.1
Radius (R): 0
Angle rake: 8
Lower clearance angle (Thêta): 52
Upper clearance angle (Beta): 22
Upper clearance lenght (B): 1.2
Bit form: 3