Skip to Content

CUTTING BLADE 20.00- 2.80

0.00 0.00
60.90 €

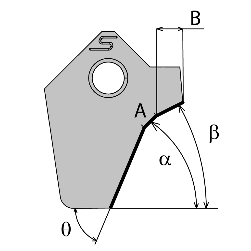
  • Bit form - Miscellaneous angles
  • Seat angle (α)
  • Seat lenght
  • Upper clearance angle
  • Upper clearance lenght
  • Lower clearance angle
  • Brut type
  • Design
  • Radius
Bit form: Miscellaneous angles
Seat angle (α): 20°
Seat lenght: 2.51mm [0.0988"] - 3mm [0.1181"]
Upper clearance angle: 5° - 10°
Upper clearance lenght: 2.01mm [0.0787"] - ∞
Lower clearance angle: 0° - 40°
Brut type: B1 Wide & Large
Design: Original
Radius: 0° - 5°

Internal Reference: 034277
Seat angle (α): 20
Seat lenght (A) (A): 2.8
Radius (R): 0
Angle rake: 8
Lower clearance angle (Thêta): 40
Upper clearance angle (Beta): 10
Upper clearance lenght (B): 2.5
Bit form: 3