Skip to Content

CUTTING BLADE 35.00- 2.00

0.00 0.00
53.60 €


Internal Reference: 035928
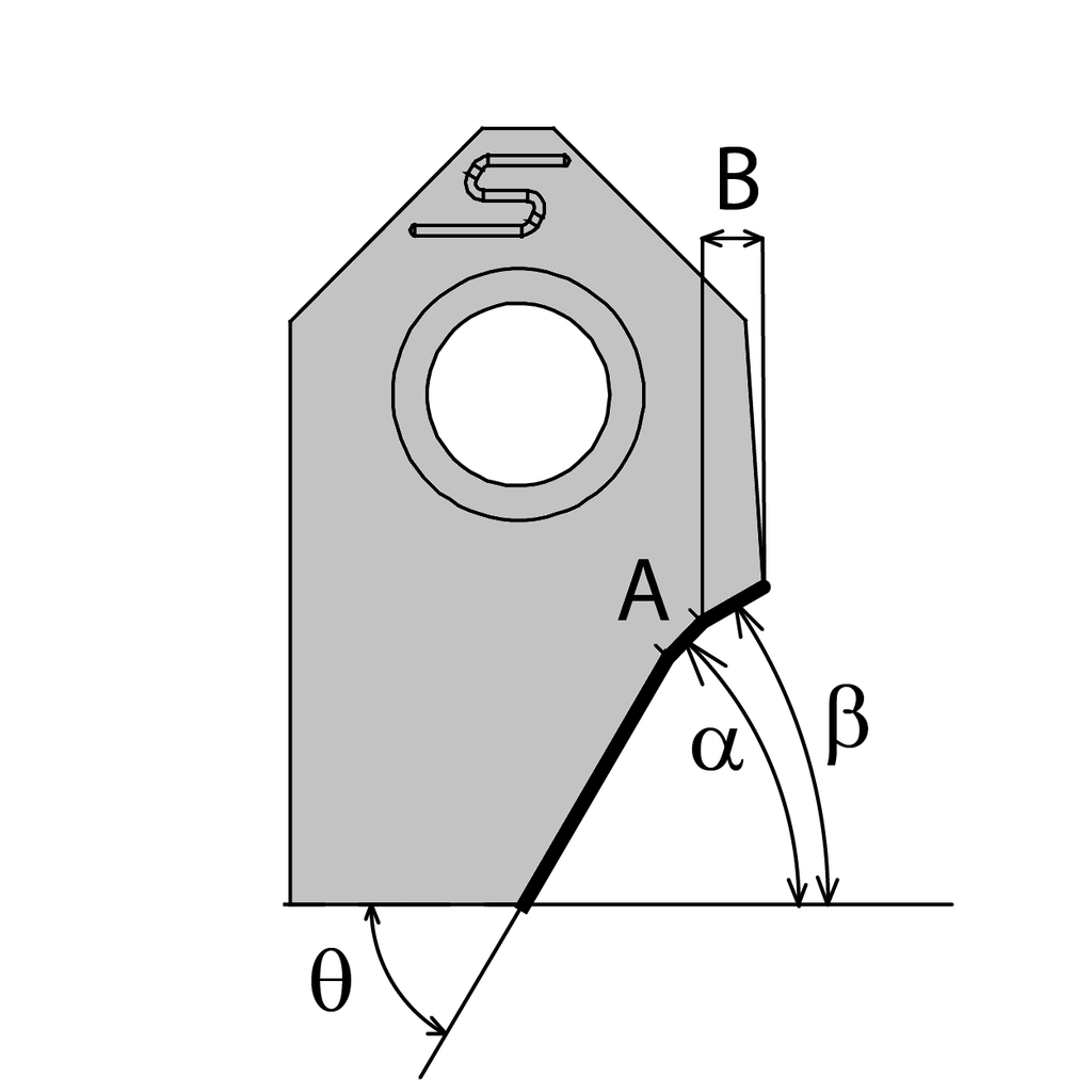
Seat angle (α): 35
Seat lenght (A) (A): 2
Radius (R): 0
Angle rake: 8
Lower clearance angle (Thêta): 75
Upper clearance angle (Beta): 25
Upper clearance lenght (B): 2.5
Bit form: 3