Skip to Content

CUTTING BLADE 20.00- 2.00

0.00 0.00
53.60 €

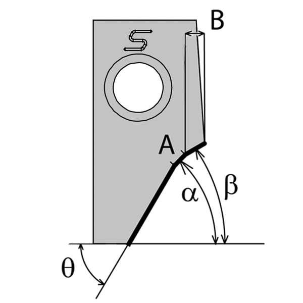
  • Bit form - Miscellaneous angles
  • Seat angle (α)
  • Seat lenght
  • Upper clearance angle
  • Upper clearance lenght
  • Lower clearance angle
  • Brut type
  • Design
  • Radius
Bit form: Miscellaneous angles
Seat angle (α): 20°
Seat lenght: 1.51mm [0.0594"] - 2mm [0.0787"]
Upper clearance angle: 10° - 15°
Upper clearance lenght: 1.01 [0.0393"] - 2mm [0.0709"]
Lower clearance angle: 50° - 60°
Brut type: E2 Standard Large
Design: New generation
Radius: 0° - 5°

Internal Reference: 921845
Seat angle (α): 20
Seat lenght (A) (A): 2
Radius (R): 0
Angle rake: 8
Lower clearance angle (Thêta): 60
Upper clearance angle (Beta): 15
Upper clearance lenght (B): 2
Bit form: 3