Skip to Content

25.00- 9.00MM-E2 CARBIDE BIT

0.00 0.00
53.60 €


Internal Reference: 921880
Old FR code: 10400
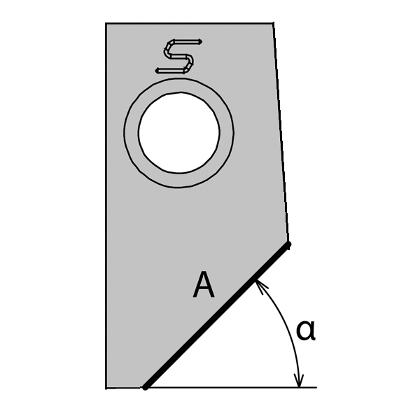
Seat angle (α): 0
Seat lenght (A) (A): 9
Radius (R): 0
Angle rake: 8
Lower clearance angle (Thêta): 0
Upper clearance angle (Beta): 25
Upper clearance lenght (B): 0
Bit form: 1