Skip to Content

ADN 40.00-E2 CARBIDE BIT

0.00 0.00
53.60 €


Internal Reference: 922387
Old FR code: 12000
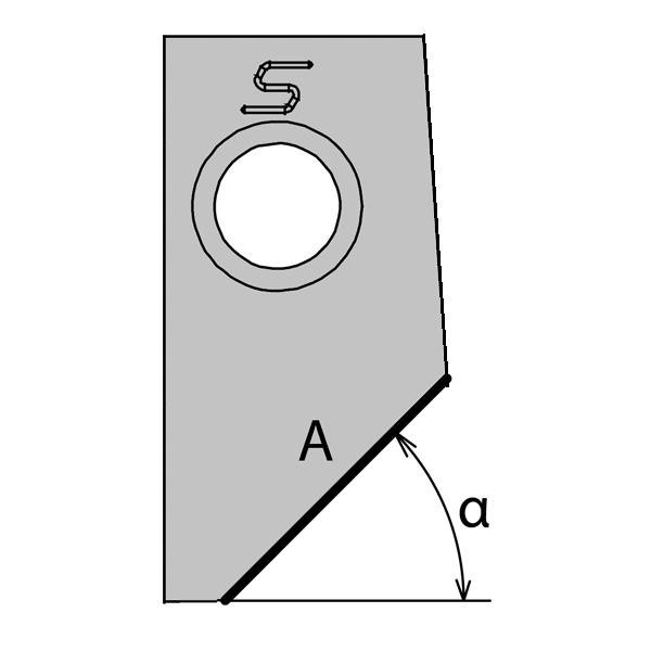
Seat angle (α): 40
Seat lenght (A) (A): 10
Radius (R): 0
Angle rake: 8
Lower clearance angle (Thêta): 0
Upper clearance angle (Beta): 0
Upper clearance lenght (B): 0
Bit form: 1