Skip to Content

CUTTING BLADE 80.00-12.00

0.00 0.00
53.60 €

  • Bit form - Single angle
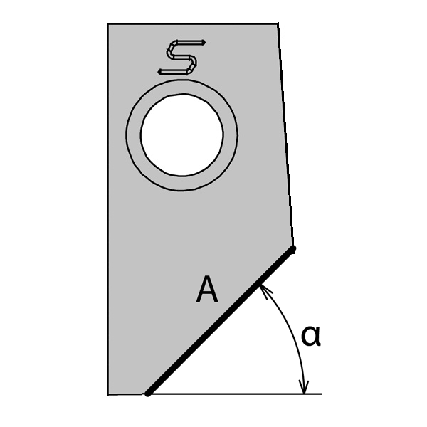
  • Seat angle (α)
  • Seat lenght
  • Upper clearance angle
  • Upper clearance lenght
  • Lower clearance angle
  • Brut type
  • Design
  • Radius
Bit form: Single angle
Seat angle (α):
Seat lenght: 3.01mm [0.1185"] - ∞
Upper clearance angle: 0° - 5°
Upper clearance lenght: 0mm [0"] - 1mm [0.0394"]
Lower clearance angle: 70° - 80°
Brut type: E2 Standard Large
Design: New generation
Radius: 0° - 5°

Internal Reference: 922412
Old FR code: 215-E2
Seat angle (α): 0
Seat width (A): 12
Radius (R): 0
Draft angle: 8
Bottom Clearance angle (Thêta): 80
Upper clearance angle ( Beta): 0
Upper clearance width (B): 0
Bit form: 1