Skip to Content

CUTTING BLADE 45.00- 1.00

0.00 0.00
53.60 €

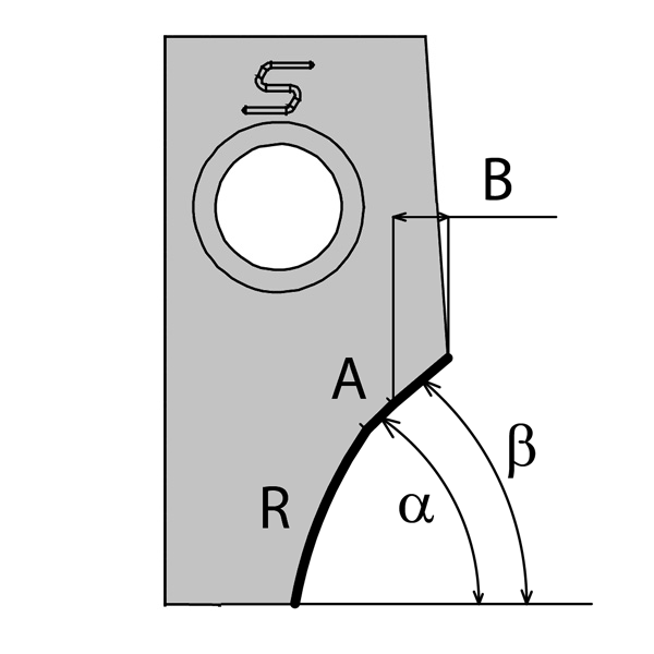
  • Bit form - Single concave radius
  • Seat angle (α)
  • Seat lenght
  • Upper clearance angle
  • Upper clearance lenght
  • Lower clearance angle
  • Brut type
  • Design
  • Radius
Bit form: Single concave radius
Seat angle (α): 45°
Seat lenght: 0.51mm [0.0200"] - 1mm [0.0393"]
Upper clearance angle: 35° - 90°
Upper clearance lenght: 1.01 [0.0393"] - 2mm [0.0709"]
Lower clearance angle: 70° - 80°
Brut type: E2 Standard Large
Design: New generation
Radius: 5° - 20°

Internal Reference: 922651
Old FR code: 41022-E2
Seat angle (α): 45
Seat lenght (A) (A): 1
Radius (R): 12
Angle rake: 8
Lower clearance angle (Thêta): 85
Upper clearance angle (Beta): 40
Upper clearance lenght (B): 1.53
Bit form: 2.2