Skip to Content

ADN632-E2 CARBIDE BIT

0.00 0.00
53.60 €

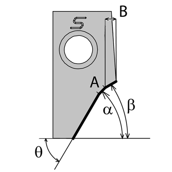
  • Bit form - Miscellaneous angles
  • Seat angle (α)
  • Seat lenght
  • Upper clearance angle
  • Upper clearance lenght
  • Lower clearance angle
  • Brut type
  • Design
  • Radius
Bit form: Miscellaneous angles
Seat angle (α): 45°
Seat lenght: 1.01mm ["0.0397] - 1.5mm [0.0591"]
Upper clearance angle: 30° - 35°
Upper clearance lenght: 1.01 [0.0393"] - 2mm [0.0709"]
Lower clearance angle: 50° - 60°
Brut type: E2 Standard Large
Design: New generation
Radius: 0° - 5°

Internal Reference: 925473
Seat angle (α): 45
Seat width (A): 1.3
Radius (R): 1.5
Draft angle: 8
Bottom Clearance angle (Thêta): 60
Upper clearance angle ( Beta): 30
Upper clearance width (B): 1.6
Bit form: 3