Skip to Content

CUTTING BIT 45,00- 4,00

0.00 0.00
53.60 €

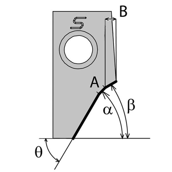
  • Bit form - Miscellaneous angles
  • Seat angle (α)
  • Seat lenght
  • Upper clearance angle
  • Upper clearance lenght
  • Lower clearance angle
  • Brut type
  • Design
  • Radius
Bit form: Miscellaneous angles
Seat angle (α): 45°
Seat lenght: 3.01mm [0.1185"] - ∞
Upper clearance angle: 0° - 5°
Upper clearance lenght: 1.01 [0.0393"] - 2mm [0.0709"]
Lower clearance angle: 60° - 70°
Brut type: E2 Standard Large
Design: New generation
Radius: 0° - 5°

Internal Reference: 936529
Seat angle (α): 45
Seat lenght (A) (A): 4
Radius (R): 0
Angle rake: 8
Lower clearance angle (Thêta): 65
Upper clearance angle (Beta): 5
Upper clearance lenght (B): 1.6
Bit form: 3